Twitter user Kepler has discovered a new AMD patent application that details moving tasks (threads) between different types of cores in a heterogeneous processor. In other words, the patent lays the groundwork for a microarchitecture that resembles Arm's big.LITTLE design that uses clusters of 'big' high-performance cores paired with 'little' efficiency cores.
AMD files over a plethora of patent applications every year, so there's no guarantee that all of them will manifest as real products. That said, there are plenty of reasons to think that we could see a hybrid AMD design come to market. Intel has already embraced a hybrid design on its desktop parts with the upcoming 12th-Gen Alder Lake family, and it's reasonable to assume that AMD will eventually hop on the hybrid bandwagon at some point in time.
Although the Method of Task Transition Between Heterogeneous Processors patent application was just published a couple of days ago, AMD filed it back in 2019. This patent may be an extension of a similar application that AMD also filed in the same year about implementing instruction set architecture (ISA) in a heterogeneous processor.
There's an ongoing rumor that AMD's Ryzen 8000 (reportedly codename Strix Point) APUs could arrive with a hybrid setup. The chips allegedly feature high-performance Zen 5 cores and low-powered Zen '4D' cores. Unless AMD has been diligently working behind the scenes, it's unlikely that Strix Point will make it to the market in time to compete with Intel's Alder Lake chips that may launch in late 2021 or early 2022. However, the APUs will probably go head-to-head with Raptor Lake, the alleged successor to Alder Lake.
















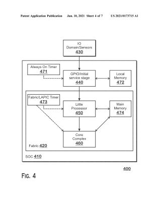
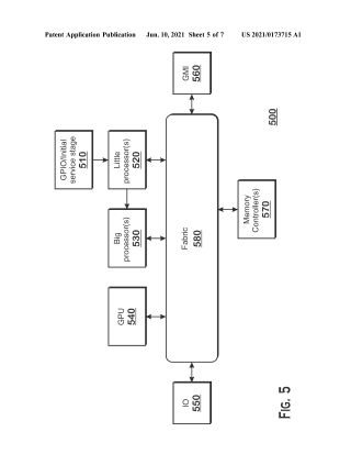
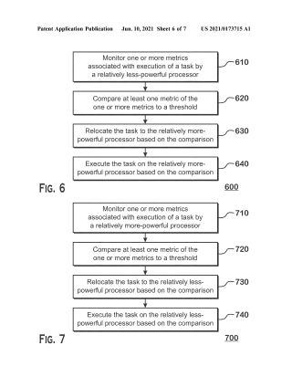
The patent explains that the process to relocate a task or task from the first processor to the second processor will be based around performance metrics based on certain thresholds or some other trigger. AMD didn't specify which cores are which, but for the sake of conversation, we can assume that the first processor refers to the big cores and the second processor refers to the power-efficient cores.
Obviously, the whole point behind a hybrid configuration is to optimize performance-per-watt while also improving performance. To achieve this goal, tasks must be moved quickly and efficiently between the big and small cores. AMD's method consists of comparing one or multiple metrics to a threshold on a checklist to determine whether or not to pass the task from one processor to another. Once the assessment is complete, the first processor essentially pauses operations while the information is transferred over to the second processor.
AMD mentions numerous examples of the type of metrics that the chipmaker could leverage for the task relocation process. The chipmaker mentions task execution time, core utilization, memory usage, idle state of a single core, or duration of a single-core execution - just to mention a few scenarios.
In one example, AMD measures the period of time that the small cores are running at the maximal clock speed and compares it to a threshold. If the duration is greater than the established time threshold, the task shifts over to the bigger cores. In another example, AMD takes into account an external factor: memory. If the memory utilization is less than the threshold established on the small cores, the task will remain on said cores.
Hybrid processors won't succeed unless there is proper software support. Recent rumors point to a new, more efficient scheduler in Windows 11 that's optimized for hybrid setups. That new update is rumored to land later this year at the same time as Alder Lake, which should pave the way for better support for hybrid processors.
The Link LonkJune 14, 2021 at 01:03AM
https://ift.tt/3wpvi7t
AMD Patent Hints At Hybrid CPU To Rival Intel's Raptor Lake CPUs - Tom's Hardware
https://ift.tt/2ZDueh5
AMD
No comments:
Post a Comment